Quickstart
This is a
secure
Alarm Sensor
for
Europe.
To run this device please connect it to your mains power supply.
The unit supports Auto Inclusion feature where it will automatically enter Inclusion mode when first powered up after a factory reset.
1. Prepare the Z-Wave controller.
2. Plug the cable plug to the wall socket to power up the unit.
3. The Link LED will start to blink slowly with 2-second on, 2-second off (for 2 minutes) which shows the unit does not be paired.
4. Within 30 seconds, put the Z-Wave Controller into inclusion mode.
5. The Inclusion process should be completed when the Link LED stops blinking.
Note: If you are connecting this unit to a Z-Wave Controller that utilizes the S2 security protocol, you may be asked by your controller to enter a 5-digit Device Specific Key (DSK) that is unique to each unit. This can be found in one of two places:- on the QR code label on the back of the unit- on the insert card inside the packaging.
6. Turn on the floodlight using the controller to check if the auto inclusion is working properly.
Important safety information
Please read this manual carefully. Failure to follow the recommendations in this manual may be dangerous or may violate the law.
The manufacturer, importer, distributor and seller shall not be liable for any loss or damage resulting from failure to comply with the instructions in this manual or any other material.
Use this equipment only for its intended purpose. Follow the disposal instructions.
Do not dispose of electronic equipment or batteries in a fire or near open heat sources.
What is Z-Wave?
Z-Wave is the international wireless protocol for communication in the Smart Home. This
device is suited for use in the region mentioned in the Quickstart section.
Z-Wave ensures a reliable communication by reconfirming every message (two-way
communication) and every mains powered node can act as a repeater for other nodes
(meshed network) in case the receiver is not in direct wireless range of the
transmitter.
This device and every other certified Z-Wave device can be used together with any other
certified Z-Wave device regardless of brand and origin as long as both are suited for the
same frequency range.
If a device supports secure communication it will communicate with other devices
secure as long as this device provides the same or a higher level of security.
Otherwise it will automatically turn into a lower level of security to maintain
backward compatibility.
For more information about Z-Wave technology, devices, white papers etc. please refer
to www.z-wave.info.
Product Description
The EH403 is an outdoor security floodlight equipped with Z-Wave wireless communication capability. It features a PIR detector to detect motion through movement of heat sources and a lux sensor for determining brightness of its surroundings.When not connected to a Z-Wave network, EH403 is fully operational as a standalone security floodlight. During hours of darkness its PIR detector turns on the 20W floodlight when it detects movement in the protected area. Its built-in timer will then turn off the floodlight after a preset time has elapsed. During daylight hours, its lux sensor saves energy by deactivating the motion sensor and the floodlight. The lux level and the timer can be set through knobs on the device itself.When added into a Z-Wave network, EH403 communicates directly with other end devices such as smart plugs, or to report directly to a Z-Wave controller (usually a gateway). It alerts the controller when motion is detected and through Z-Wave commands, the controller can remotely turn on/off the floodlight at any time and be able to configure its lux level and timer setting.This product supports the S2 security protocol that uses encrypted Z-Wave Plus messages to communicate to other security-enabled Z-Wave Plus products. A security-enabled Z-Wave Plus Controller must be used in order to fully utilize the security features of this product.
Prepare for Installation / Reset
Please read the user manual before installing the product.
In order to include (add) a Z-Wave device to a network it must be in factory default
state. Please make sure to reset the device into factory default. You can do this by
performing an Exclusion operation as described below in the manual. Every Z-Wave
controller is able to perform this operation however it is recommended to use the primary
controller of the previous network to make sure the very device is excluded properly
from this network.
Reset to factory default
This device also allows to be reset without any involvement of a Z-Wave controller. This
procedure should only be used when the primary controller is inoperable.
1. Press the tamper switch 3 times within 1.5 seconds to put the unit into exclusion mode
2. Within 1 second of step 1, press the tamper switch again and hold until LED is off (about 5 seconds).
3. Node ID is excluded.
The device reverts to factory default state and will be in auto-inclusion mode for 4 minutes.
Safety Warning for Mains Powered Devices
ATTENTION: only authorized technicians under consideration of the country-specific
installation guidelines/norms may do works with mains power. Prior to the assembly of
the product, the voltage network has to be switched off and ensured against re-switching.
Installation
Mounting the Unit
Choosing the location
The recommended location for the floodlight is outside the house under the eaves or other shaded areas where it is not directly exposed to sunlight.
- Do not aim its PIR detector facing a window or direct sunlight, otherwise poor triggering response may occur..
- Avoid aiming the PIR Detector at pools, heating vents, air conditioners or objects that may change temperature.
- Avoid aiming the PIR Detector at trees or shrubs or where the movement of pets or animals may be detected
- Where possible, mount the unit so that the path of an intruder would cut across the fan pattern rather than directly towards the detector.

For the best results, mount the floodlight onto normal brickwork 1.8~2.0m above the ground. At this height, the unit will detect movement within its 110 degrees fan-shaped detection pattern up to 8m depending on adjustment.
SAFETY PRECAUTION
- DO NOT install when it is raining.
- Isolate the power supply before installation.
- Ensure that local Wiring and Building regulations are complied with.
- The unit is supplied with a pre-wired supply cable this must be used and must not be removed.
- Ensure that the power supply is protected by a 6amp circuit breaker or 5amp fuse.
- Ensure a minimum distance of 2.0m away from lighted objects.
- The unit must be installed vertically with the PIR at the bottom of the unit.
- The unit can be corner mounted if preferred.
Installation & Wiring instructions
1. Use the mounting bracket to mark the position of the mounting holes.
2. Drill the holes and insert suitable wall plugs
3. Fix the mounting bracket to the wall using suitable screws.
Wiring instructions
WARNING: Isolate the mains power supply to prevent electrical shock.
4. It is recommended to add an internal single pole wall switch to allow easy control of the unit.

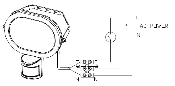
5. Connect the mains power supply to the pre-wired cable provided with the fitting as shown above. If the connection is made outdoors a suitable waterproof IP box must be used to make the connections.
Follow exactly the wire colors as below:
- BROWN (Live) wire to the mains live connection via a wall switch
- BLUE (Neutral) wire to the mains neutral connection.
- GREEN/YELLOW wire to a suitable earth point. The unit must be earthed.
Note: Do not remove the pre-wired supply cable. This will invalidate the warranty.
6. When completed, turn the knobs of Time-Off on the unit to T mark, and turn the knob of Lux on the unit to the mark.
7. Reinstate the power supply to the floodlight and switch on the wall switch, if installed. When the PIR is triggered, the LED of the PIR will blink once and the floodlight will turn on for around 5 seconds then turn off. It is now in test mode.
Inclusion/Exclusion
On factory default the device does not belong to any Z-Wave network. The device needs
to be added to an existing wireless network to communicate with the devices of this network.
This process is called Inclusion.
Devices can also be removed from a network. This process is called Exclusion.
Both processes are initiated by the primary controller of the Z-Wave network. This
controller is turned into exclusion respective inclusion mode. Inclusion and Exclusion is
then performed doing a special manual action right on the device.
Inclusion
Press the tamper switch 3 times within 1.5 seconds to put the unit into inclusion mode.
Exclusion
.Press the tamper switch 3 times within 1.5 seconds to put the unit into exclusion mode.
Auto-Inclusion
Beside the standard inclusion this devices supports the so called auto inclusion.
Right after powering up the device remains in inclusion state and can be included by
(any) gateway without further actions on the device itself. The auto inclusion mode will
time out after some time.
Product Usage
Product Overview
1) Z-Wave PIR Detector
2) Toughened glass lens
3) Floodlight housing
4) Mounting bracket
5) Learn Button
6) Time off Knob
7) Lux Knob
Warm-Up
It will take approximately 5 seconds for the PIR detector to warm up after powered on. During this period the floodlight will turn on. When the floodlight turns off, the warm-up procedure is complete and the PIR detector is ready.
Walk Test
The user can perform a walk test to ensure the PIR detectors range falls within the desired area of coverage. This test also checks if the unit is still within the communication range of the Z-Wave controller.
1. Walk through its PIR Detector coverage area. The floodlight turns on when you move and turns off after approximately 5 seconds. Wait for the floodlight to turn off before moving again to test.
2. If necessary, tilt the floodlight to achieve desired result. The floodlight may be tilted downwards by up to 30° to light the area directly under it. Tilting by more than 30° may cause issues with the lux sensor as light reflected back from the area under the floodlight may switch the lux sensor to daylight mode hence turning the floodlight off.
3. When you are satisfied with the coverage area you can now set the desired Time period and Lux level.
Time and Lux adjustment
You can set desired Time period and Lux level through:
(i) the Z-Wave controller if the unit is already connected to it, or
(ii) manually adjusting the knobs on the unit if not connected to a Z-Wave network. The following section describes the steps for manual setting.
(1) Time adjustment
Time-off knob controls how long the floodlight will stay on after the motion is detected.
Turn the TIME control knob towards the + sign to increase how long the floodlight stays
on (up to about 12 minutes) or towards the T to decrease (down to about 8 seconds).
The recommended setting for Time control is approximately midpoint of the scale
(approximately 5 minutes).
(2) Lux adjustment
The LUX adjustment sets the brightness level threshold that will activate the motion sensor. The Lux control can be adjusted between T (always triggered regardless of light level) and the moon symbol (triggered on only during hours of darkness). The adjustable Lux range is about 30 - 200 Lux.
1. To set the lux level, turn the Time-off knob to T for maximum response.
2. Turn the LUX control knob to the moon (dusk) position.
3. Wait until the ambient light level reaches the level of darkness at which you wish the floodlight to activate.
4. Slowly rotate the Lux knob anti-clockwise while keep creating motion during the process until the floodlight turns on. At this position the light will operate at approximately the same level of darkness each evening.
5. Set the Time-off knob back to the desired preset time.
6. When completed, tighten the two Allen screws on the side of the floodlight body to secure its position
Note: When connected to a Z-Wave controller, the manual settings will be overwritten by the settings through the Z-Wave controller.
Quick trouble shooting
Here are a few hints for network installation if things dont work as expected.
- Make sure a device is in factory reset state before including. In doubt exclude before include.
- If inclusion still fails, check if both devices use the same frequency.
- Remove all dead devices from associations. Otherwise you will see severe delays.
- Never use sleeping battery devices without a central controller.
- Dont poll FLIRS devices.
- Make sure to have enough mains powered device to benefit from the meshing
Association - one device controls an other device
Z-Wave devices control other Z-Wave devices. The relationship between one device
controlling another device is called association. In order to control a different
device, the controlling device needs to maintain a list of devices that will receive
controlling commands. These lists are called association groups and they are always
related to certain events (e.g. button pressed, sensor triggers, ...). In case
the event happens all devices stored in the respective association group will
receive the same wireless command wireless command, typically a 'Basic Set' Command.
Association Groups:
| Group Number |
Maximum Nodes |
Description |
| 1 |
1 |
Lifeline |
| 2 |
4 |
PIR Control (Basic Set) |
Configuration Parameters
Z-Wave products are supposed to work out of the box after inclusion, however
certain configuration can adapt the function better to user needs or unlock further
enhanced features.
IMPORTANT: Controllers may only allow configuring
signed values. In order to set values in the range 128 ... 255 the value sent in
the application shall be the desired value minus 256. For example: To set a
parameter to 200 it may be needed to set a value of 200 minus 256 = minus 56.
In case of a two byte value the same logic applies: Values greater than 32768 may
needed to be given as negative values too.
Parameter 1: PIR Trigger Off period
Period to send Trigger Off command after PIR is triggered. Before this period expires, the PIR will not be able to detect any subsequent motion.
Size: 2 Byte, Default Value: 15
| Setting |
Description |
| 8 - 720 |
Secounds |
Parameter 2: Lux sensor threshold
Lux level to activate the PIR. When the lux level falls below this threshold and the PIR gets triggered, the unit emits a Basic Set Command (Valus=0Xff) and turns on its floodlight. This overwrites the Lux level set by the Lux knob.
Size: 2 Byte, Default Value: 50
| Setting |
Description |
| 30 - 200 |
Lux sensor threshold can be set 30~200 |
Parameter 3: Lux auto report
Period to report Lux value.
Size: 2 Byte, Default Value: 0
| Setting |
Description |
| 0 - 1440 |
minutes |
Technical Data
| Dimensions |
200 x 196 x 88 mm |
| Weight |
800 gr |
| Hardware Platform |
SD3502 |
| EAN |
4713616113724 |
| IP Class |
IP 54 |
| Voltage |
230 V |
| Load |
20 W |
| Device Type |
Notification Sensor |
| Network Operation |
Always On Slave |
| Z-Wave Version |
6.71.01 |
| Certification ID |
ZC10-18056122 |
| Z-Wave Product Id |
0x0060.0x0012.0x0001 |
| Sensors |
Luminance |
| Supported Notification Types |
Home Security |
| IP (Ingress Protection) Rated |
ok |
| Outdoor Use |
ok |
| Color |
Black |
| Frequency |
Europe - 868,4 Mhz |
| Maximum transmission power |
5 mW |
Supported Command Classes
- Association Grp Info
- Association V2
- Basic
- Switch Binary
- Configuration
- Device Reset Locally
- Firmware Update Md V4
- Manufacturer Specific V2
- Notification V4
- Powerlevel
- Security 2
- Security
- Sensor Multilevel V5
- Supervision
- Transport Service V2
- Version V2
- Zwaveplus Info V2
Controlled Command Classes
Explanation of Z-Wave specific terms
- Controller — is a Z-Wave device with capabilities to manage the network.
Controllers are typically Gateways,Remote Controls or battery operated wall controllers.
- Slave — is a Z-Wave device without capabilities to manage the network.
Slaves can be sensors, actuators and even remote controls.
- Primary Controller — is the central organizer of the network. It must be
a controller. There can be only one primary controller in a Z-Wave network.
- Inclusion — is the process of adding new Z-Wave devices into a network.
- Exclusion — is the process of removing Z-Wave devices from the network.
- Association — is a control relationship between a controlling device and
a controlled device.
- Wakeup Notification — is a special wireless message issued by a Z-Wave
device to announces that is able to communicate.
- Node Information Frame — is a special wireless message issued by a
Z-Wave device to announce its capabilities and functions.